新闻资讯
咨询热线
0898-08980898传真:0898-08980898
面向低空交通的新基建发展机遇分析
以民用有人驾驶和无人驾驶航空器为主,以载人、载货及其他作业等多场景低空飞行活动为牵引,辐射带动相关领域融合发展的综合性经济形态。它依托于低空空域,低空空域通常指距地面垂直距离1000m以内的空域,根据不同地区的特点和实际需要,这一定义可以延伸至3000m。依据有关研究报告数据,2023年中国“低空经济”规模达5060亿元(占比GDP 0.4%),预计2026年规模达到10645亿元(占比GDP 0.7%)。“低空经济”将在物流、应急救援、医疗、农业、巡检等多个领域展现出巨大发展潜力,与“低空经济”相关的产业、产品、基础设施建设等也随之迎来新的发展机遇。
电动垂直起降机(electric Vertical take-off and landing vehicles,eVTOL)是指以电力作为飞行动力来源且具备垂直起降功能的新一代航空革命性飞行器,当下成为国内外研究热点,开辟了国际航空科技创新竞争的新赛道,可成为未来城市空中交通市场的主流方案。eVTOL结合了智能技术,具备起降方便、噪声低、排放低、巡航效率高、保障要求低、更便捷安全等优势,可用于载人、载物及特殊作业等不同场景。
2024年11月13日,第十五届中国国际航空航天博览会上,广东汇天航空航天科技有限公司研发的“陆地航母”飞行汽车正式问世,成为兼顾空中飞、陆上开的两栖车,融合了高端智能汽车、低空飞行、城市立体交通等产业发展热点,在制造业的战略地位突显。“低空经济”的发展,离不开低空基础设施的建设。目前,全球范围内低空载人飞行器航站点的基础设施建设正处于起步阶段。在国内,一些城市已经开始了相关的基础设施建设,如合肥、深圳、上海等地均已建立了低空飞行器起降坪,并配备了相应的空中指挥调度中心、安检候乘机楼、充电维修区等基础设施。合肥城市空中交通枢纽港(如图1所示)是2024年11月在骆岗公园正式建成投入运营的低空航站中心,集展示、文旅、低空通勤等功能于一身,旨在打造以此为核心应用的低空生态场景。笔者基于“低空经济”下的政策环境,对配套航站基础设施建设现状进行分析。
我国将“低空经济”列为战略性新兴产业,从2021年“低空经济”首次被写入《国家综合立体交通网规划纲要》国家规划起,广东、海南等地已率先尝试“低空经济”发展,江苏、浙江、上海等31个省(区、市)也接连发布“低空经济”的相关政策和规划。
2024年5月,广东省人民政府办公厅印发《广东省推动低空经济高质量发展行动方案(2024—2026年)》(粤府办〔2024〕6号),计划到2026年,“低空经济”规模目标超过3000亿元,基本形成广州市、深圳市、珠海市三核联动、多点支撑、成片发展的低空经济产业格局,培育一批龙头企业和专精特新企业,产业规模稳步增长;应用规模不断拓展,全省通用飞机飞行达到15万h。广州市继《广州市低空经济发展实施方案》提出2027年实现经济规模约1500亿元的目标后,又推出《广州市推动低空经济高质量发展若干措施》,一共提出20条措施支持“低空经济”发展,计划到2027年,建成“1+5+100”的地面起降设施,具体包括增城1个跑道型通用机场,珠江新城、广州南站等5个枢纽型垂直起降场,以及覆盖全市11个区的100个常态化使用起降点。2023年12月,深圳市发布《深圳市支持低空经济高质量发展的若干措施》,在引培“低空经济”链上企业方面、鼓励企业技术创新方面、扩大低空飞行应用场景方面、完善产业配套环境方面给予了很大的资金支持。2024年1月,深圳市发布全国首部“低空经济”产业促进专项法规—《深圳经济特区低空经济产业促进条例》。据2024年8月2日深圳市召开的“低空经济”高质量发展大会,截止到2024年6月,深圳市已经建成低空起降点249个,覆盖载客运输、物流运输、社区配送及公共治理服务4大领域。深圳市规划到 2025年,将建成1000个以上低空起降点,力争全市120m以下的适飞空域开放面积占比突破75%,低空商业航线条,低空航行器同时在空每年500万以上飞行架次的服务保障能力,低空载货飞行突破150万架次,低空载人飞行超过3万架次。截至2024年10月,17
仅计专项),其中广东、湖北、北京、上海等8省市明确了“低空经济”规模目标,预计到2026—2027年,总规模将达9100亿元。广东省是目前中国“低空经济”第一大省,其中2大核心城市广州市(预计2027年“低空经济”规模达1500亿元)、深圳市(2023年全市无人机企业产值达 960亿元)以产业实力、企业规模等领先全国低空产业。因此,通过政策支持和发展规划可以看出,“低空经济”占据重要地位,有望成为国内经济增长新引擎,相关行业产品及服务发展机遇较大。02
eVTOL的相关规范还处于初步制定阶段。2023年2月,中国民用航空局发布MH5013—2023《民用直升机场飞行场地技术标准》,规定自2024年4月1日起,新建及改扩建直升机场项目需严格按照该标准进行设计、建设和验收。该标准对民用直升机场的飞行场地技术标准进行了详细规定,包括飞行场地物理特性、目视助航设施设备等方面的要求。MH5013—2023主要适用于陆上直升机场、直升机水上平台、船上直升机场使用的区域,不适用eVTOL相关的屋顶机场,也没有定义相关的机场结构荷载要求。2024年5月,我国发布首部eVTOL起降场技术规范—T/CCAATB0062—2024《电动垂直起降航空器(eVTOL)起降场技术要求》,对eVTOL起降场的物理特性、障碍物限制、场址选择、结构设计、专用设施设备等诸多技术参数进行了明确阐释。该标准的发布可以更好地指导低空飞行基础设施的规范化、规模化建设。2024年5月3日,美国联邦航空管理(
eVTOL的相关研究论文还比较少,目前的研究主要集中在发展规划、运营管理和科技产业政策等管理方面。如Straubinger等通过综述当前城市UAM领域的研究进展,探讨了UAM的发展前景、面临的挑战及解决策略。论文结合全球多个地区的研究案例,全面分析了UAM的概念、技术实现、应用场景及其对未来城市交通体系的影响。Cohen等概述了UAM的历史、生态系统、市场潜力和面临的挑战,提出了UAM生态系统的关键概念,并通过多方法分析构建了其历史、现状和未来可能的发展阶段。研究指出,UAM面临着监管环境、社区接受度、安全、噪声、社会公平和环境影响等多重挑战。Su等主要概述了eVTOL在城市交通中的性能分析,从飞行控制视角探讨了其优势、挑战及应用潜力。系统分析了不同设计配置的eVTOL特性,并讨论了总体设计问题、控制系统设计的挑战及解决方案。Bulakh等研究了设计医疗停机坪时必须考虑的主要特征和参数,针对大城市中日益严重的交通拥堵问题来改善城市医疗运输。廖小罕等针对UAM所需配备的基础设施、运营与管控模式以及低空公共航路的规划方法等问题,梳理了UAM与低空公共航路的基本概念、发展历程以及基于低空公共航路的UAM管理等内容;提出了一种UAM运营管理框架,就相关行政部门在城市空中交通发展中可能承担的职责提出了建议和应对措施。对于屋顶机场结构设计的相关研究,目前的文献也非
常少,比较多的是消防直升机停机坪、医院直升机屋顶停机坪等的基本介绍和施工方面的研究,结构设计相关的研究较少。如,Dziubinski通过计算流体动力学(CFD)分析直升机的主旋翼尾流对停机坪操作安全的影响。Cielak主要研究了直升机在高架直升机停机坪上着陆、停留及起飞时产生的振动声学影响。研究团队通过EC-135型直升机进行了实地测试,测量了停机坪及建筑物上的振动和噪声数据。展示了飞行各阶段的测量结果,并特别分析了振动影响最大的飞行阶段的频率数据,研究揭示了直升机对建筑结构的影响程度及其随高度变化的特性。田兴等从北京安贞医院通州院区项目直升机停机坪的钢结构、场道、甲板、锁机栓、消防设施安装等方面对停机坪的设计和施工技术进行了介绍。03
VTOL飞机、垂直机场和空中交通管理是创建城市UAM生态系统的3要素。垂直机场作为核心基础设施,除了要与 eVTOL飞机交互,还要与人交互、与城市交互。考虑到城市发展的多样化方式,城市垂直机场建设有3种不同类型:改造型、新建型和模块化型。改造型是将垂直机场融入现有的城市基础设施或场地,同时保持其原有功能。新建型则将垂直起降场纳入各种城市开发项目中新建建筑的上层。模块化型通过建筑工业化,使用在工厂预制的标准尺寸基本单元模块,在城市环境中现场快速组装垂直起落机场。垂直机场在具体设计时为了满足特定的空间限制和功能要求,以及尽可能无缝融入不同城市环境,一定程度上需要
如在既有建筑物屋顶上建设停机坪需要进行建筑物的加固设计和升级改造施工。目前的eVTOL屋顶停机坪研究关注的主要是基本场地规划设计、建筑功能、建筑外观等场地方面的设计,对于结构的设计、施工建造等方面关注较少。可考虑开展模块化钢结构屋顶停机坪的设计与建造关键技术研究,提供定制化服务,以提高建造的科技含量和建造速度。3.1.2
eVTOL起飞和降落过程中的振动问题直升机或电动垂直起降飞行器在屋顶停机坪起飞和降落
起结构的显著振动;启动和停止旋翼时的瞬时冲击力同样会导致结构振动。此外,当直升机或无人机的旋翼频率与建筑结构的自然频率相近时,还可能引发共振现象,加剧振动幅度,长此以往可能导致结构的疲劳损伤,缩短其使用寿命。振动还会通过建筑结构传播,影响楼内其他区域的使用者。3.1.3
eVTOL起飞和降落过程中的噪声问题除了振动问题,噪声也是不可忽视的方面。旋翼在高速旋转时与空气相互作用产生的空气动力噪声,以及尾桨在特
直升机发动机运转时的机械噪声和排气噪声,以及涡轮引擎的高速运转噪声,都是eVTOL起飞和降落过程中产生的噪声。在起飞和降落过程中,旋翼对空气的扰动还会产生额外的噪声,特别是低频噪声,其传播距离远,对周边环境和居民的影响尤为显著。3.2
解决对策为了有效控制直升机或电动垂直起降飞行器在屋顶停机坪起飞和降落时产生的振动和噪声问题,可以采取一系列措施。
这些措施的综合应用将有效缓解直升机或电动垂直起降飞行器在屋顶停机坪操作时的振动和噪声问题。采用振动隔振技术提升屋顶停机坪的振动舒适性与抗震
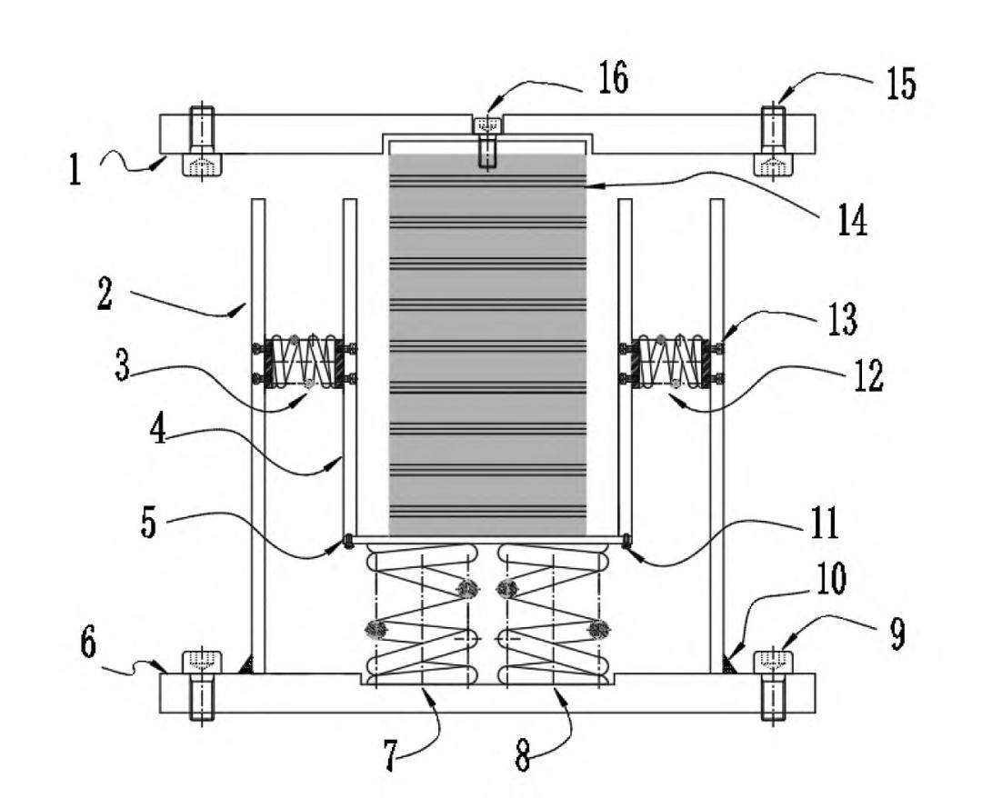
件,如隔振支座(其剖面示意如图2所示),构建柔性的水平或垂直隔振层,通过调整结构模态频率,有效隔离或减弱振动传递。隔振支座作为该技术的核心组件,其性能直接决定了整体隔振效果。1—支座整体上连接钢板;
2—准零刚度螺旋弹簧外连接钢板;3—准零刚度 螺旋弹簧1;4—准零刚度螺旋弹簧内连接钢板;5—高阻尼厚肉橡胶垫底部连接板;6—支座整体下连接钢板;7-承载用螺旋弹簧1;8-承载用螺旋弹簧2; 9—支座整体上连接钢板连接螺栓;10—准零刚度螺旋弹簧外连接钢板焊接 点;11—高阻尼厚肉橡胶垫底部连接板连接螺栓;12—准零刚度螺旋弹簧2; 13—准零刚度螺旋弹簧连接螺栓;14—高阻尼厚肉橡胶垫;15—支座整体下连接钢板连接螺栓;16—支座整体上连接钢板连接螺栓。图2
“低空经济”作为一种新兴的战略型产业,在国家产业发展体系中占据引领地位,其广泛的应用领域、显著的经济价值及深远的战略意义预示着该领域拥有广阔的发展前景。 “低空经济”的持续繁荣与壮大,离不开低空基础设施建设的坚实支撑。通过对eVTOL基础设施建设研究现状的系统综述,揭示了低空基础设施建设中存在的振动与噪声问题。为解决这些问题,笔者建议应深入分析振动与噪声的产生根源及其传播路径,并据此采取科学合理的工程技术措施与有效的管理策略,以期有效缓解直升机和无人机在屋顶停机坪起降过程中所产生的负面影响,进而促进“低空经济”实现健康、可持续的发展。
平台声明:该文观点仅代表作者本人,搜狐号系信息发布平台,搜狐仅提供信息存储空间服务。


